消防安裝
聯系我們
- 聯系人:郭經理
- 傳真:010-69552656
- 電話:400-0346-119
- 電話:010-57491119
- 郵箱:506665119@qq.com
- 地址:北京通州區M5運河1號3號樓403室
樂鳥電氣火災監控系統
樂鳥LN6K 圓形開口剩余電流傳感器
來源:電氣火災監控 時間:2017-06-23 09:26:44
介紹
● 使用高阻燃材料(輕盈方便)
● 使用超微晶忒心材料
● 使用環氧樹脂進行澆注(固定、散熱、抗震)
● 帶屏蔽接線(更好的信號提供能力)
● 使用超微晶忒心材料
● 使用環氧樹脂進行澆注(固定、散熱、抗震)
● 帶屏蔽接線(更好的信號提供能力)
功能
● 功能:提供剩余電流信號
技術規格
● 功能:提供剩余電流信號
技術規格
● 額定輸入:50mA-20A
● 輸出電流:0.025-10mA
● 精度:0.5%(GB14287.2-2014國標第二等級)
● 線性度:0.5%
● 隔離電壓:3000Vac
● 輸出電流:0.025-10mA
● 精度:0.5%(GB14287.2-2014國標第二等級)
● 線性度:0.5%
● 隔離電壓:3000Vac
應用
● ABCN 四根線需要同時穿過 LN6K,LN6K出來的連根引線鏈接到 LN6M。
● ABCN需要同一個方向穿過 LN6K的過孔(否則會產生剩余電流的疊加)。
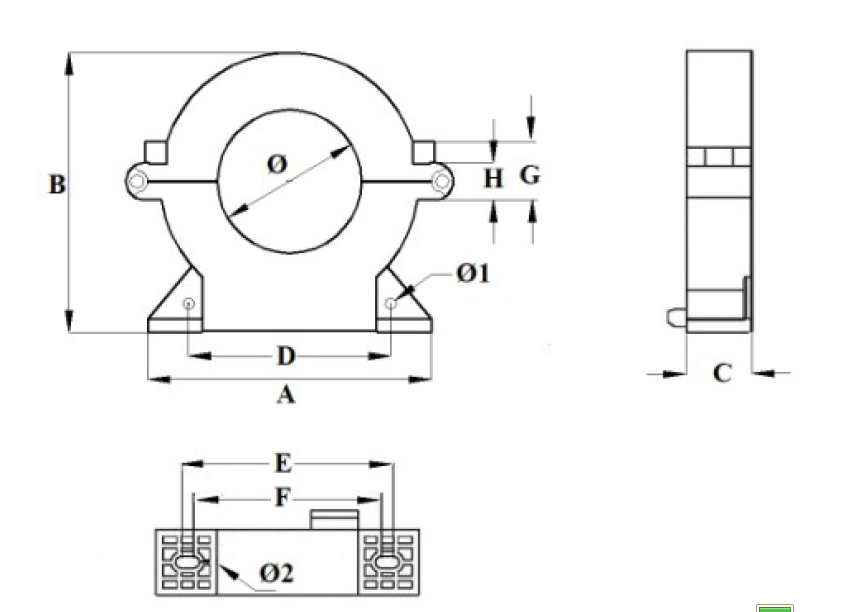
尺寸選型
● ABCN 四根線需要同時穿過 LN6K,LN6K出來的連根引線鏈接到 LN6M。
● ABCN需要同一個方向穿過 LN6K的過孔(否則會產生剩余電流的疊加)。
尺寸選型




